时隔4个月,黑石的买家身份进一步清晰,SOHO中国也从出售资产变为整个公司,为何会有这样的变化?
本文由无冕财经(wumiancaijing)原创首发
作者:陈欣苗
编辑:陈涧
设计:甄开心
编辑助理:苏欣然
潘石屹“离场”消息再起。
3月10日,据路透社报道,消息人士透露,美国私募基金公司黑石集团(以下简称“黑石”)正进行排他性谈判,计划斥资40亿美元(约合人民币277亿元)将SOHO中国有限公司(以下简称“SOHO中国”)私有化;黑石提出的报价为每股6港元,较SOHO中国1月份平均收盘价3.03港元溢价近100%。
受此影响,当日,SOHO中国(00410.HK)股价急速拉升,涨幅冲至37.58%时触及停牌,收报4.1港元/股,创出52周新高,总市值约213.2亿港元。
SOHO中国和黑石早有交集。去年10月,据财新消息,SOHO中国将以分批打包的方式出售总值为500亿至600亿元的八个项目,首批交易的意向买家之一正是黑石。彼时,“潘石屹清仓跑路”的舆论甚嚣尘上。
对于私有化一事,3月10日,SOHO中国方面回应称,一切以公告为准。但截至3月11日16时,SOHO中国仍未发布相关公告。
尽管潘石屹早已对外回应,“说我跑了都是谣言”,但近年来,SOHO中国频繁甩卖国内资产,业绩也是一片惨淡。与之形成反差的,是潘石屹密集进行海外投资。
收购早已开始?
根据路透社消息,黑石在今年2月初便与SOHO中国展开排他性谈判,这是黑石迄今为止在中国市场的最大投资。
据知情人士称,黑石还将接管SOHO中国的债务。SOHO中国2019年中期报告显示,截至2019年6月底,其负债为326.8亿元(约合47亿美元),投资资产价值为87.8亿美元。
此外,SOHO中国私有化细节预计将在未来几周内敲定,且潘石屹张欣夫妇计划在与黑石达成交易后仍保留少量股份。目前,潘石屹和张欣的家族信托持有SOHO中国33.24亿股股份,持股比例达63.93%。
SOHO中国“卖身”黑石,实则有迹可循。
2019年10月30日,据香港万得通讯社报道,SOHO中国正考虑以80亿美元出售中国的办公大楼权益。随后,据财新消息,SOHO中国计划将其作为核心资产的八个项目以分批打包的方式全部出售,所有交易预计在未来两年内完成。
▲去年11月29日,SOHO中国董事长潘石屹辟谣“跑路”,图片来自SOHO中国。
2019年中报显示,SOHO中国投资物业总值611亿元,出售八个项目意味着SOHO中国将清空内地整体自持的商办资产。
据财新消息,北京的光华路SOHO、望京SOHO塔3,以及上海的SOHO复兴广场是首批交易,且接近最后阶段,意向接盘方是黑石联合新加坡国有控股的GIC(Government Invested Company)公司成立的买方团。
对此,SOHO中国在2019年10月30日发布公告称,其对于此番出售项目传闻“不知悉”,但又指出“在投资物业组合的日常经营管理中,本集团会不时探讨集团所处主要市场的商业地产市场环境及潜在交易机会”,表述耐人寻味。
时隔4个月,黑石的买家身份进一步清晰,交易标的亦从SOHO中国的资产转变为整个公司。
“PE之王”黑石是市场最受欢迎的基金之一。数据显示,截至2019年底,黑石集团管理资产规模已达5711亿美元,涉及私募股权、房地产、对冲基金和信贷。其中,房地产基金以约1632亿美元资产规模成为黑石集团管理规模最大的业务。
从黑石的角度看,SOHO中国亦是符合其收购逻辑的标的。“黑石和SOHO中国的谈判说明是看好中国房地产市场,尤其是写字楼市场的。”知名地产分析师严跃进对无冕财经(ID:wumiancaijing)表示,更为关键的是,此类谈判或从去年就开始,但当前依然明确谈判的进程,也说明收购的决心坚定。
在严跃进看来,这或与写字楼市场的发展等有关,“去年开始全国写字楼市场比较疲软,客观上也会压低部分写字楼的产品价格,这或也是黑石收购的一个重要逻辑。”
除了黑石对中国投资市场兴趣和信心,对于这次交易,据路透社援引知情人士的话透露,收购公司比单独收购其房地产项目要简单得多,这将为黑石完成交易提供更大的确定性。
在本次交易中,阎岩或是关键助攻。公开资料显示,阎岩目前是黑石亚洲区房地产板块的常务董事,曾在SOHO中国工作22年,被业界誉为潘石屹的“左膀右臂”。另据“界面新闻”援引业内人士消息,2018年,原SOHO中国有限公司执行董事兼总裁阎岩加盟黑石集团后,黑石和SOHO中国有了更多交集。
变现决心很大?
自SOHO中国2012年从“开发-销售”向“开发-持有”转型后,自诩“生意人”的潘石屹,便做起了只卖不买的生意,且近年来甩卖国内资产的频率愈加频繁。
自2013年后,SOHO中国几乎每年都会出售旗下项目。据无冕财经研究员统计,2014年至2019年间,SOHO中国累计出售资产套现约293.41亿元。其中,金额较大的包括84.93亿元将外滩“地王”50%的权益转让给复星国际,52.3亿元出售上海SOHO海伦广场和静安广场,50.08亿元出售凌空SOHO等。
▲SOHO中国一直在出售资产。
在一连串出售后,八大核心资产被放上货架消息以及最新的SOHO中国私有化,让潘石屹的“清仓”大戏到达高潮。尽管这期间,潘石屹不止一次在公开场合多次强调自己看好北京、上海地段的物业,且坚定表态“核心资产不卖”,但现实不断“打脸”。
对于出售资产的逻辑,潘石屹曾这样解释,“做生意永远不变的规律就是低进高出。SOHO中国永远遵循这样的原则,永远判断什么时候是价位低的时候,什么时候是价位高的时候。”
“低买高卖”逻辑背后,潘石屹的买卖经取决于中国商办物业的租金回报率。他在不同场合反复讲过,衡量商业物业价值的标准是租金回报率,但中国中国房地产市场租金回报率水平偏低。
“中国租金回报率我都不好意思说。”去年11月,潘石屹表示,美国办公楼租金回报率接近4%,纽约甚至达到5%-6%,但中国的租金回报率偏低,只能是先用低房租吸引顾客、日后再涨的策略。
数据显示,2018年,SOHO中国经营业务产生现金13.83亿元,减利息净支出8.09亿元,减所得税支付2.12亿元,经营活动净现金流3.62亿元,回报低至约0.6%。
“在北京这样的城市,SOHO中国的租金回报率不到3%,但银行贷款的资金成本超过了4%,这几乎是地产业最低的资金成本,但在此情况下,这意味着全年的物业经营仍然会亏损2%,这个生意怎么做呢?”潘石屹说。
“包租公”的生意难做,亦反映在SOHO中国差强人意的的业绩上。昔日营业收入曾高达达182.15亿、销售额碾压融创的SOHO中国,在地产企业的各类排行榜上销声匿迹,2012年潘石屹“5年后租金年收入超过40亿元”的愿景也已落空。
数据显示,2012年-2018年,SOHO中国营业收入由161.43亿元缩水至17.21亿元;归母净利润由105.85亿元减至19.25亿元。
2019年上半年,SOHO中国“增收不增利”,营业额同比上升11.8%至8.89亿元,但净利润却同比下滑48.36%至5.65亿元;总资产688.98亿元,一年内到期债务20.53亿元,同期公司现金及等价物仅11.5亿元,无法覆盖短债。
▲SOHO中国营收及资产负债率情况。
对于“二次创业”推出的共享办公产品SOHO 3Q,潘石屹也草草收场。此前规划的2019年拆分SOHO 3Q上市改口为“目前没有上市计划”,2019年中期报告中SOHO 3Q的运营状况只字未提,最新是消息是接盘筑梦之星接盘其旗下11个核心项目。
“对于SOHO中国来说,过去抛售部分物业的做法比较多,但是都是单一资产的抛售,现在以公司的名义进行抛售或私有化,也说明资产处置的决心。”严跃进表示,从写字楼企业的角度看,其对于经济周期会更加敏感,所以会积极进行转让。
严跃进对无冕财经分析,从目前来看,变现的可能性更大,通过私有化也为SOHO中国创始人等带来了规模较大的现金流,在当前房地产市场的大环境下,类似现金流的充裕自然也是很关键的。
海外撒钱
已无意征战国内房地产市场,一旦“卖身”,所得百亿资金,会往何处去?
事实上,在国内只售不买的同时,潘石屹夫妇通过离岸家族信托(Capevale)在海外买买买。
2011年至2013年间,潘石屹夫妇通过家族信托共斥资约27亿美元(约合188亿人民币)投资海外物业资产,先后收购纽约曼哈顿时报广场旁的港务局长途巴士站办公大楼项目、曼哈顿公园大道广场49%股权,以及张欣联合巴西财团美国通用汽车大厦40%股权,该交易成为单个中国投资者在美国最大的不动产投资之一。
值得一提的是,虽然潘石屹和张欣都曾对外表示,海外投资的资金来源家族信托,与SOHO中国无关,但家族信托的资金来源却与SOHO中国关系密切。
SOHO中国于2007年在香港上市前披露的招股书显示,当时潘石屹和张欣二人通过私人公司控制SOHO中国的股权,再成立7家离岸公司来控制境内的项目公司。
其中,潘石屹通过Boyce控制SOHO中国47.39%股权,张欣则通过Capevale控制SOHO中国47.39%股权。2005年11月,潘石屹将其在Boyce的全部股份以馈赠的方式转让给张欣。至此,两人所持有的SOHO中国股权的收益权都转至张欣名下,张欣是该笔信托的唯一授予人、保护人及全权受益人。
而从股权结构上看,该家族信托持有SOHO中国33.24亿股股份,比例达63.9309%。潘石屹是信托的实益拥有人,张欣为信托的受益人。
同时,潘石屹之子潘瑞目前正在英国攻读雷丁亨利商学院房地产博士学位,并在当地成立了EREC Estates房地产公司,拥有多个大型地产项目,包括首个由华人主导的英国学生公寓品牌UNINN。
▲潘石屹儿子潘瑞(中)婚礼现场,图片来自新华网。
此外,潘石屹的另外两个儿子均在国外读书,二儿子潘让2018年入读耶鲁大学,小儿子Luc2019就读哈佛大学。这两人就读的学校,正是SOHO中国基金会选择的捐赠对象。
2005年,潘石屹、张欣夫妇共同创建SOHO中国基金会。该基金会在2014年启动了金额达1亿美元的SOHO中国助学金项目,目前已与哈佛大学和耶鲁大学签署总额为2500万美元的捐赠协议。
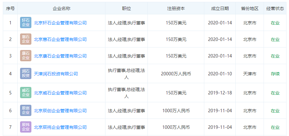
天眼查数据显示,2019年12月18日至2020年1月14日,潘石屹注册了7家公司,且公司股东均为注册在境外的公司,注册资本从150万元至2亿元不等。
▲潘石屹注册的部分公司,图片来自天眼查。
这一次,潘石屹真的要成“潘跑跑”?
文章转载自无冕财经(ID:wumiancaijing),禁止私自转载,如需转载,请联系无冕财经授权。

https://mp.weixin.qq.com/s/a_weSfikOgDF5vDzxzsfkw
免责声明:本文来自无冕财经 wumiancaijing客户端,不代表超天才网的观点和立场。文章及图片来源网络,版权归作者所有,如有投诉请联系删除。
超天才网©2013-2014 All Rights Reserved 京ICP备09005826号-2 京ICP证130304号